
滾筒篩介紹:
滾筒篩是采礦、煤炭等行業發展所需求的設備,具有很廣泛的適應性。主要適用于篩選煤礦石,砂巖,礦石等塊狀或粉狀物料的分類,篩選和分級。可應用于采石場對大小石塊或沙子進行篩選和分級實現砂石分離。煤礦場用于分離煤泥、煤塊、煤粉、洗煤等的篩選和分類。
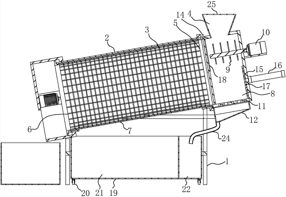
滾筒篩構成特點:
它由滾筒,框架,篩網,減速器和電機構成。采用新穎的結構,篩網由特殊鋼材制成,有效避免了其他類型篩網篩分設備容易堵塞的問題,在篩選濕粘物料時,它有效地提高了篩選系統的穩定性和篩選效率。
滾筒篩特點
1、設計合理,結構簡單,占用空間小,維護成本低。
2、相比振動篩價格要低。
3、獨特的篩網設計,篩分率高,在篩選潮濕,粘稠的材料時不容易堵塞。運行穩定,生產效率高。
4、圓柱滾筒構造提供了更大的表面積,其具有更高的材料與篩網接觸的面積。
5、設備可采用完全密封設計,以盡量減少操作過程中空氣中細小物質的懸浮,避免工作環境污染。
6、堅固的機身,所有部件都使用更厚更堅固的材料, 具有很強的耐用性。
7、尺寸、容量和篩網層數可以定制。可定制雙層或多層。
運行工作原理:
破碎的石材進入滾筒篩的滾筒內后,根據旋轉滾筒的離心力進行工作,物料隨著滾筒的旋轉而被篩選,然后物料從配備不同大小的篩網孔篩出。較細的材料穿過篩孔,不同的物料落入不同的料斗中,大于篩網孔的石頭沿著滾筒的斜面從滾筒篩出口排出。
選型參數表:

售后注意事項:
1、滾筒篩在運行前三天,每天都應該給滾筒篩檢查緊固件,如果松動及時擰緊。
2、應及時檢查軸承潤滑油。一般情況下,每兩個月填充一次潤滑油。
3、物料處理量不宜過多,否則容易造成軸承過熱而停機。
滾筒篩廠家提示:請通過正規渠道購買奧創輸送機,以保障您的合法權益!
訂購網址請登錄河南奧創機械有限公司官方網站:m.popiao.cn 24小時服務熱線:13353676726